Hodnocení tématu:
  • 2 Hlas(ů) - 5 Průměr
  • 1
  • 2
  • 3
  • 4
  • 5
Novinky ze světa kuší, testy, srovnání
#61
DeanBow vyzerá teda hodne premakane, ale tá cena   Huh
Odpovědět
#62
Zajímavé je vedení šípu, v railu není žádná úzká drážka, ale 2 cm široké "údolí". Šíp je založený ve 2 bodech, takže asi by flat nock nebyl dobře použitelný. Jinak přenádherný kousek.
Odpovědět
#63
To Rgx
Je to bezrailová koncepce tj. railless neboli trackless.
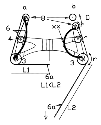
Zajimavý je v tom, že boky slouží jako vedení tětivy, kdežto šíp je, jak píšeš, založen jen vzadu u záchytu a vpředu na dvou kuličkách. Toto řešení vidím vůbec poprvé. Dle mého je to dobře vymyšlené. Tětiva bude klidná a povede šíp s jistotou, ten bude mít zase minimální třecí ztráty. Z obou systémů si bere to dobré. Jak to bude fungovat v praxi ukáže teprve čas. Každopádně patentů na DeanBow bude mít Marcin Dziekan zase povícero, viz. systém ramen v příloze (navíc je na kuši originální systém převodu nátahu, nátahu ráčnou,...).

   
Odpovědět
#64
https://www.youtube.com/watch?time_conti...nZfHjy6jFA

nevím, jestli už to sem někdo nedával ... ale co to sakra je za provedení ... jako tohle je mechanická kuše Big Grin

https://www.epuskohled.cz/eshop/kuse/kus...400-detail
Odpovědět
#65
je to na pohon High Pressure Air... alebo na CO2, vyrobene a patentovane v Rakusku kde je cena o 800e nizsia ako CR/SR Smile  zasa sa ukazuje ake hov*da tu predavaju.... naviac tam obrdzite aj flasu plynu alebo redukciu co2 +5co2 bombiciek
Odpovědět
#66
To Jeník 
Je to v tomto vlákně na straně 2. Je to zajímavá inovace z Evropy, která najde uplatnění spíše u lovců za mořem. Otázkou je, zda nedají přednost domácímu produktu v podobě Parker Concorde nebo nějaké verzi sofistikovaného kličkového mechanismu. Jedním z hlavních zastoupení bude arrowinapple.


http://www.arrowinapple.com/crossbow/ste...400-black/
Odpovědět
#67
Vtipné ... od metrixů se ramena kupují jak na běžícím pásu ... tak tahle inovace nevím nevím zda to ještě nezhorší...
Odpovědět
#68
Tento system je zatial mozne vydiet na kusiach bulldog 400 a micro 355... podla vsetkeho sa to da pouzit aj pre ine (nove) excalibur kuse.. cena samostneho systemu je 850e
Odpovědět
#69
To Jeník
V řadě Excalibur Matrix jako takové problém není. Problém byl pouze s typy Matrix 380 a 405. Je to dáno hlavně tvarem hlavy těchto výkonných modelů. Hlava má negativní úhel a ramena jsou více předpjatá. To vede k většímu nátahu, ale zároveň také k tomu, že tětiva naráží do koncovek ramen a ramen samotných při výstřelu. Proto bylo tolik reklamací na prasklé koncovky ramen či ramena.
Sám Excalibur tyto typy relativně rychle stáhl a nahradil je řadou Bulldog. Ta má hlavu založenou na modelu Micro a je rovná. Tím pádem by nemělo docházet k poškozením. Řada Micro má podobný problém s praskáním ramen, ale ten je daný jejich přehnaným nátahem. Na tak krátká ramena je nátah enormní a rázy velmi tvrdé, bez propružení jako u dlouhých ramen. U nejsilnějších modelů Micro uvádí výrobce nátah 280 lb. Reálně byl ale změřen nátah 347 lb!!!

To matus-svk
Ta cena je naprostý nesmysl a myslím, že půjde o slepou větev ve vývoji kuší.
Největší slabinu spatřuji v natáhnutí a zaklesnutí tětivy naprázdno. Bez natahováku nikdy nezaklesneš tětivu na záchytu přesně v polovině. Borec natahující kuši na reklamním videu Steambow je přímo na facku...

https://www.youtube.com/watch?v=inZfHjy6jFA
Odpovědět
#70
DanM cena je urcene vyrobcom v Rakusku... ci sa to bude alebo nebude predavat je mi uplne jedno
Odpovědět


Přejít na fórum:


Uživatel(é) prohlížející toto téma: 7 host(ů)