Hodnocení tématu:
  • 0 Hlas(ů) - 0 Průměr
  • 1
  • 2
  • 3
  • 4
  • 5
Spúšťové mechanizmy
#1
Zakladám tému o spúšťových mechanizmoch. Čo by ma najviac zaujímalo, je, aké máte skúsenosti s konkrétnymi továrensky, ale aj „home made“ vyrobenými spúšťovými mechanizmami. Predtým ale snáď malý a zaiste neúplný prehľad spúšťových mechanizmov. Pokúsim sa chronologicky...
Asi prvým bol kolíčkový, netreba zvlášť popisovať Smile
   

Na ďalších dvoch obrázkoch síce nie je klasický kolíčkový mechanizmus, ale princíp je v podstate rovnaký; ide o nadvihnutie zaháknutej napnutej tetivy spúšťou, čím dôjde k jej uvoľneniu a výstrelu.
           

V stredoveku ďalej často používaný orech + spúšťová páka, ktorá funguje fyzikálne ako dvojzvratná páka. Čím dlhšie je jej dlhé rameno, tým menšou silou musí strelec pôsobiť prstami pri uvoľnení tetivy. Ďalšie modifikácie tejto schémy vypustím … v podstate pribúdali medzi orechom a strelcovými prstami ďalšie dvojzvratné páky...
       

Spúšťových mechanizmov nájdeme na internete stovky, takže poďme k tým zložitejším. Dvojzvratnú páku môže nahradiť kohútik, ale sila potrebná na uvoľnenie tetivy je pomerne veľká.
   

Rôzne modifikácie orecha a kohútika. Kohútik je umiestnený buď za orechom, alebo pred ním.
           

Ak medzi kohútik (žltý) a orech (modrý) vložíme ďalšiu dvojzvratnú páku (zelená), sila by sa mala zmenšiť, a to úmerne podľa pomeru ramien dvojzvratnej páky. Za zmienku ešte stojí, že v tomto prípade je kohútik pred orechom, nie za ním, takže aj konštrukčné riešenie je odlišné (dvojzvratná páka so zúbkom na konci).
   

Ideálne je, ak rameno dvojzvratnej páky, na ktoré sa prenáša sila zo strelcových prstov, je čo najdlhšie. Samozrejme, pri konštruovaní spúšťového mechanizmu je konštruktér limitovaný celkovým usporiadaním kuše a jej rozmermi. Nie je jednoduché „napchať“ do malého priestoru fyzikálne účinný, a pritom aj bezpečný a „blbuvzdorný“ mechanizmus.
   

Iný mechanizmus (s tiahlom), v prípade, ak je spúšť pred orechom. Takto sa môže kohútik  ľubovoľne „vzdialiť“ od orecha a je možné meniť náťahovú dĺžku, dĺžku pažby apod.
   

Iný zaujímavý mechanizmus, „tykadlo“ orecha je podopreté pákou, ktorá ovláda jeho uvoľnenie. Továrensky som ho ale nevidel využitý nikde.
           

Ďalšie modifikácie, kde je spúšť umiestnená pred orechom. Orech môže mať drážku pre šíp zhora alebo zdola.
               

Tu sa dostávame k jednoduchému mechanizmu, ktorý má ideálne usporiadanie pre pridanie poistky, ešte nie automatickej.
   

Ten istý mechanizmus, ale s poistkou.
       

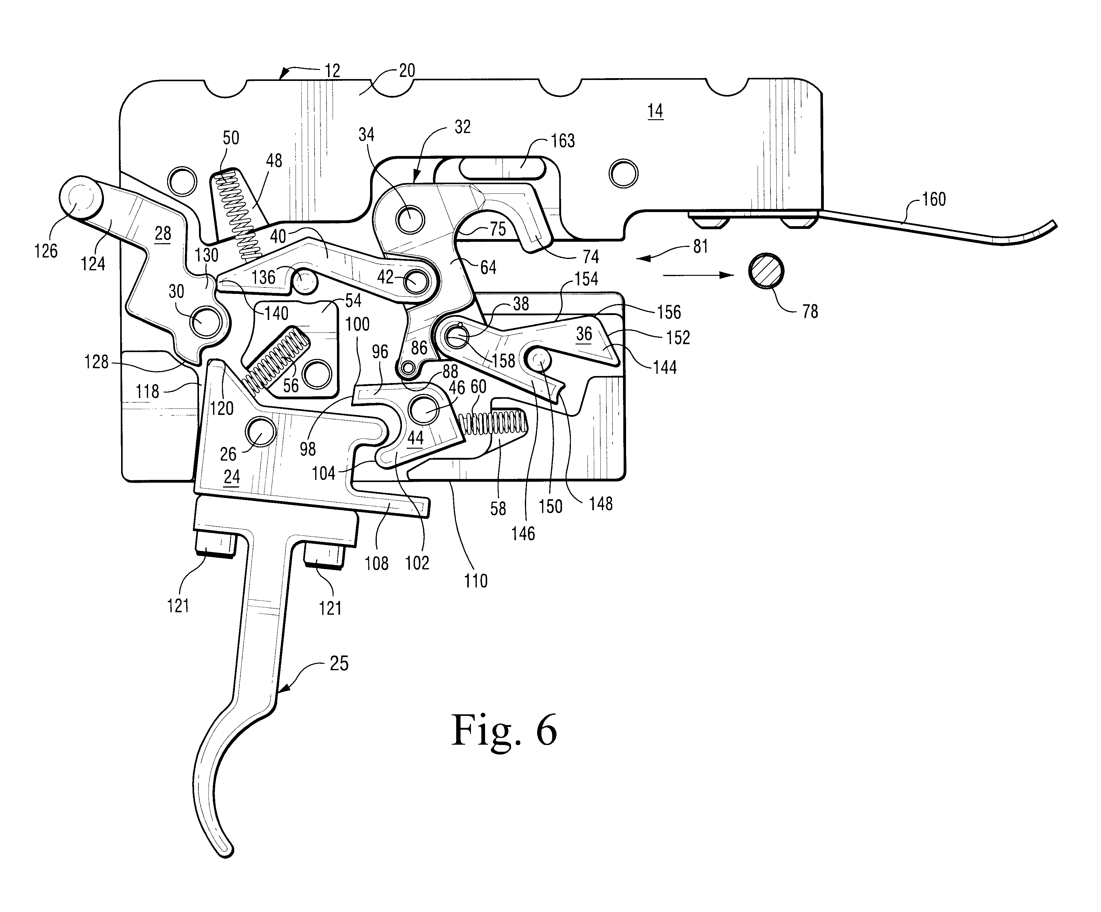
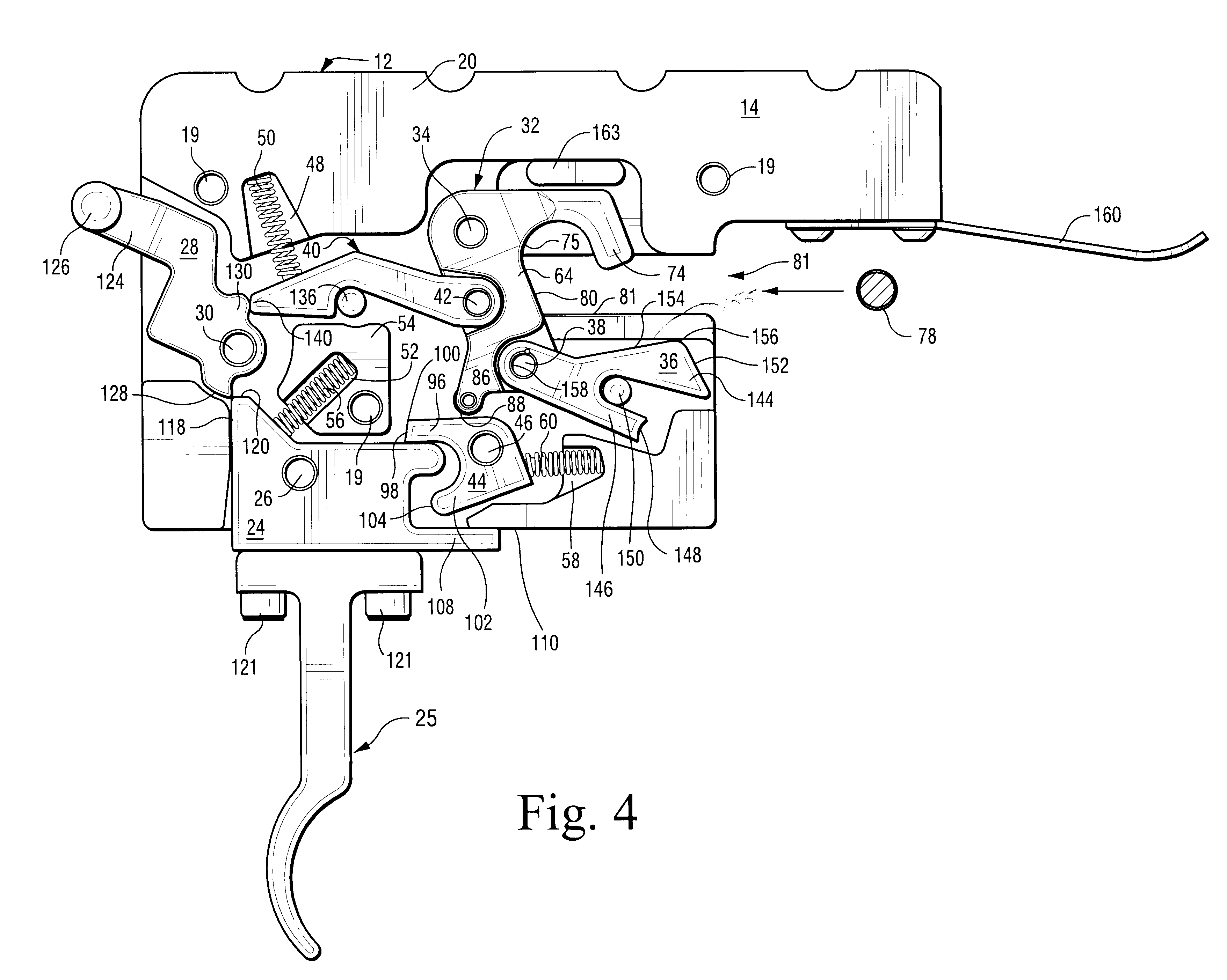
Americký patent – spúšťový mechanizmus na kušu s automatickou poistkou. Poistka sa zaistí sama pri natiahnutí tetivy.
                   
Odpovědět
#2
To Opossum

Velmi pěkný příspěvek. Zajímavě seřazené spoušťové mechanismy co se propracovanosti týče.

Dá se říci, že se stále používají všechny zmíněné typy. Od dětských a pistolových kuší, přes historické, netradiční až po moderní kuše.

Ke spoušťovému mechanismu s ořechem si dovolím poznamenat, že jsem měl tu možnost z něj střílet jak u historické gotické kuše s pákou, tak u historické barokní terčové kuše s jazýčkovou spouští. Oba dva typy jsou vysoce funkční a přesné. U terčové pak až neuvěřitelně přesné.
V současné době tento typ spouští využívá německá firma armbrust-manufaktur.de, která tyto spouště vyrábí z nejkvalitnějších materiálů, v současných přesnostech obrábění. 

https://www.armbrust-manufaktur.de/quali...ueche.html

Více o těchto kuších sepíšu v budoucnu do samostatného článku.

https://www.armbrust-manufaktur.de/armbrustgalerie.html

Spoušť Tebou označenou jako "tykadlo" používal na svých kuších Marcel Burri ze Švýcarska v osmdesátých a devadesátých letech. 

   
   

Samostatný článek zde.

http://www.lukostrelec.cz/subdom/forum/s...206#pid206

Poslední spouště moderního typu, se záchytem shora je patentem a doménou Excaliburu.
Přijde mi, že na automatické vystavení je zadní páčka nevhodná. Ale oproti standardnímu Excaliburu je tam více vnitřností, takže skutečně jde o automatickou pojistku. Zajímalo by mě, jak to funguje v praxi.
Odpovědět
#3
Super, očakával som, že sa k téme vyjadrí niekto povolanejší, ako ja, niekto s priamymi skúsenosťami s rôznymi kušami. Ja som ešte  z priemyselne vyrobenej kuše nestrieľal, takže to porovnanie mi chýba, preto veľmi vítam tvoju odpoveď. Ja som vyrobil zatiaľ dve kuše, ktoré majú orech a kohútik, s pridanou malou dvojzvratnou pákou, v princípe takéto niečo http://lukostrelec.cz/subdom/forum/attac...p?aid=1277
Začínal som s úplne jednoduchou spúšťou
http://lukostrelec.cz/subdom/forum/attac...p?aid=1272
ale pri veľkej náťahovej sile šla spúšť dosť ťažko uvoľniť. Preto som tam pridal tú dvojzvratnú páku, ale nemám pocit, že by
spúšťanie bolo oveľa ľahšie. Na jednej kuši som pridal aj ručnú poistku, ale vlastne tam ani nie je treba, pretože samovoľný výstrel asi nehrozí... Smile 
Ak by si mal porovnať tieto dva mechanizmy, ešte spolu s pákovým
http://lukostrelec.cz/subdom/forum/attac...p?aid=1270
ktorý sa ti zdá najlepší?
A ešte porovnaj, prosím, ľahkosť spúšťania týchto mechanizmov so zložitejšími, ako je napríklad ten US patent.
A ešte jedna otázka: písal si o elektronickej spúšti. Aký je v stručnosti jej princíp?
Odpovědět
#4
Opossum: + Velice zajímavé téma.+ Dobře sepsané.

Také jsem řešil, jak vyrobit jednoduchý spouštěcí mechanismus, který by chodil relativně lehce.
Jde především o to, kam se umístí osa kolem které se jazýček otáčí. Když je díra pred jazýčkem jde to mnohem lépe, než když je za jazýčkem. Na fotce to jde krásně vidět. Díl B
Také záleží na té části, která se opírá o ořech, čím menší, tím to jde lépe ( lehce)


Přiložené soubory Miniatury
   
Odpovědět
#5
Asi toto by bolo tiež dobré riešenie (mám na mysli ten valček, po ktorom sa orech gúľa)
   
alebo toto, kde sila prenášaná z orecha na spúšť nepôsobí kolmo, dochádza tak k rozkladu síl a plynulejšiemu spúšťaniu (si myslím) Smile
   


automatická poistka umiestnená na boku - toto riešenie sa mi celkom pozdáva
https://www.youtube.com/watch?v=JaVr70sqVBo
Odpovědět
#6
To opossum

Mě osobně se líbí tyto dva.

   
   

Dosahuješ tím systému bull-pup, kdy je spoušť před záchytem. Tím můžeš dosáhnout při kompaktnějších rozměrech delšího nátahu a tím vyšších výkonů.
Prodloužením pák nebo zvýšením jejich počtu snižuješ sílu potřebnou ke spuštění. Čím větší a pozvolnější rádiusy, tím plynulejší a jemnější chod. Další snížení odporu a hladšího chodu můžeš dosáhnout vyleštěním nebo pochromováním jednotlivých dílů spoušťového mechanismu.

Staré Barnetty měly velice podobný systém záchytu s automatickou pojistkou jako jsi přidal na videu. Tětiva překlopila klapku záchytu, která zachytává zespodu a zároveň posunula pojistku vzad. Na odjištění jí musíš posunout vpřed. Jednoduché, účinné, bezpečné. Spoušťový mechanismus byl unifikovaný, stejný pro všechny kuše. 
Pro typy kuší se stavbou bull-pup v Barnettu používali stejný spoušťový mechanismus, jen vybavený raménkem, které jej spojilo se spouští posunutou vpřed.

   
   


Na Tvojí otázku jaké je porovnání starých a nových, továrně dělaných spouští je složitá.
Myslím, že každou, kvalitně a přesně vyrobenou spoušť jde odladit tzv. na fouknutí.
Odpovědět
#7
díky za odpoveď
ano, keď tam pridám ďalšie dvojzvratné páky, tak sa sila potrebná na spúšťanie bude zmenšovať...ale kde to narvať, ak človek nechce mať systém pák po celej dĺžke kuše, tak ako to bolo pri kušiach cca v 18.-19.storočí Cool
Odpovědět


Přejít na fórum:


Uživatel(é) prohlížející toto téma: